
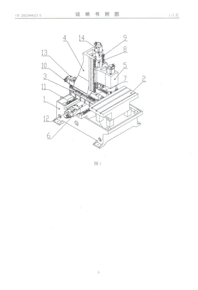
技术领域:本实用新型涉及钻铣加工中心的移动机构,特别涉及一种动柱立式高速钻铣加工中心快速机构。
背景技术:目前,国内的立式数控钻铣床、立式加工中心多采用固定立柱结构,通过工作台的移动,实现三轴立体加工。因工件质量的不确定性,以及工作台负重对加工精度和机床稳定性的影响,使得机床X/Y/Z向进给无法保证精度的前提下真正达到高速。
发明内容:本实用新型针对现有技术的不足,提供一种实现高速高精加工动柱立式高速钻铣加工中心快速移动机构。
本实用新型的优点效果是;本实用新型动柱立式高速钻铣加工中心快速移动机构实现加工的高速度、高精度。

